Alphabetical Index

635 - Wiring Harness (Cab) (North American Version)( Жгут Проводов Кабины Североамериканской Версии)

Wiring Harness, Cab (For European Version)

key PART NO. PART NAME QTY SERIAL NO. REMARKS
1 RE261369 Sensor 1 SUB FOR RE35704
2 RE179973 Floodlamp 2
3 RE204327 Wiring Harness 1 A/C
4 RE71246 Wiring Harness 2
5 RE67285 Tail Lamp 2
6 RE173604 Floodlamp 2 SUB RE255988; ALSO ORD ER R175462 AND R252736
7 L83677 Socket Outlet 1
8 RE250944 Cab Wiring Harness 1 - 009999
RE277128 Cab Wiring Harness 1 010000 -
RE250946 Cab Wiring Harness 1 - 009999
key PART NO. PART NAME QTY SERIAL NO. REMARKS
RE277131 Cab Wiring Harness 1 010000 -
9 RE154222 Switch 1
10 RE48234 Wiring Harness 1
RE33778 Diode 1 (A)
11 RE63981 Switch 1
12 RE208337 Motor 1 (C)
13 RE52633 Wiring Harness 1
14 AL33161 Lamp 1
15 ...... Radio 1 FI
16 RE57892 Lamp 1
key PART NO. PART NAME QTY SERIAL NO. REMARKS
17 RE237675 Blower Fan 1
18 RE66277 Push Switch 1
19 RE46534 Switch 1 (B)
20 R125964 Bracket 1
21 R26941 Grommet 1
22 37M7230 Screw 3
23 ...... Cab Wiring Harness 1

Cab Wiring Harness Connectors (1/3) (North American Version) (IVT)(Жгут проводов кабины разъемы североамериканской версии ИВТ)

key PART NO. PART NAME QTY SERIAL NO. REMARKS
1 RE250945 Cab Wiring Harness 1 - 009999
RE264041 Cab Wiring Harness 1 010000 -
RE279616 Cab Wiring Harness 1 (SUB FOR RE264041)
2 R77480 Electrical Connector Assy 1 START AID
3 RE46736 Electrical Connector Assy 1 KEY SWITCH
4A 57M7261 Elec. Connector Housing 1 - 009999
57M7296 Elec.Connect Locking Device 1
4B 57M7261 Elec. Connector Housing 1 010000 -
57M7296 Elec.Connect Locking Device 1
5 57M8933 Elec. Connector Housing 1 MODE ACTU.
key PART NO. PART NAME QTY SERIAL NO. REMARKS
6 57M7717 Electrical Connector Assy 1 STEERING COLUMN MODULE
7 57M7254 Elec. Connector Housing 1 PRESSURIZER MOTOR
57M7289 Elec.Connect Locking Device 1
8 57M7328 Elec. Connector Housing 1 DIFFLOCK SWITCH
57M7289 Elec.Connect Locking Device 1
9 57M8919 Elec. Connector Housing 1 FOOT THROTTLE
10 57M8835 Elec. Connector Accessory 3
11 57M8858 Elec. Connector Housing 1 DRIVER INFO CONNECTOR 1
57M8860 Elec.Connect Locking Device 1
12 57M8857 Elec. Connector Housing 1 DRIVER INFO CONNECTOR 2
key PART NO. PART NAME QTY SERIAL NO. REMARKS
57M8860 Elec.Connect Locking Device 1
13 57M7263 Elec. Connector Housing 1 MANUAL SEAT
57M7291 Elec.Connect Locking Device 1
14 57M7631 Elec. Connector Housing 1 ACTIVE SEAT
57M7680 Elec.Connect Locking Device 1
15 57M7629 Elec. Connector Housing 1 ACTIVE SEAT
57M7678 Elec.Connect Locking Device 1
16 57M7840 Elec. Connector Housing 1 ACTIVE SEAT
57M7469 Elec.Connect Locking Device 1
17 57M8889 Elec. Connector Housing 1 RHR NEUTRAL START SWITCH
key PART NO. PART NAME QTY SERIAL NO. REMARKS
57M9201 Elec.Connect Locking Device 1
18 M135518 Electrical Connector Assy 1 ARMREST CONTROL MODULE
57M8327 Elec.Connect Locking Device 1
19 57M8016 Elec.Connect Locking Device 1 USER INTERFACE MODULE
57M8015 Elec.Connect Locking Device 1
20 57M8017 Elec. Connector Housing 1 USER INTERFACE MODULE DUST CAP
57M7619 Elec.Connect Locking Device 1
21 57M8919 Elec. Connector Housing 1 CLUTCH PEDAL
22 57M7633 Electrical Connector Assy 1 REVERSER MODULE
57M7682 Elec.Connect Locking Device 1
key PART NO. PART NAME QTY SERIAL NO. REMARKS
23 57M8416 Elec. Connector Housing 1 IVT SELECT SWITCH
57M7469 Elec.Connect Locking Device 1

Cab Wiring Harness Connectors (2/3) (North American Version) (IVT)(Жгут проводов кабины разъемы североамериканской версии ИВТ)

key PART NO. PART NAME QTY SERIAL NO. REMARKS
1 RE250945 Cab Wiring Harness 1 - 009999
RE264041 Cab Wiring Harness 1 010000 -
RE279616 Cab Wiring Harness 1 (SUB FOR RE264041)
2 57M8847 Elec. Connector Housing 6 SPLICE PACK 1, 2, 3, 4, 5 & 6
57M8848 Elec.Connect Locking Device 6
3 57M7254 Elec. Connector Housing 1 LEFT REAR FENDER FLOOD
57M7289 Elec.Connect Locking Device 1
4 57M8616 Elec. Connector Housing 1 CHASSIS HARNESS
5 R112653 Grommet 1
6 RE210023 Electrical Connector Assy 1 IMPLEMENT CAN DATA CONNECTOR
key PART NO. PART NAME QTY SERIAL NO. REMARKS
7 57M8015 Electrical Connector Assy 1 IMPLEMENT CAN
57M8016 Elec.Connect Locking Device 1
8 RE12363 Elec. Connector Terminal 1 LEFT EXTREMITY LIGHT
9 AR75695 Socket Outlet 1 7 PIN DOME ELECT. CONN., UB FOR L83677)
10 57M8864 Electrical Lamp Socket 1 010000 -
57M9211 Elec.Connect Locking Device 1 010000 -
11 RE12363 Elec. Connector Terminal 1 HITCH DOWN SWITCH
12 57M8908 Clip 1
13 57M8274 Elec. Connector Housing 1 CHASSIS HARNESS
57M7300 Elec.Connect Locking Device 1
key PART NO. PART NAME QTY SERIAL NO. REMARKS
14 57M9229 Clip 4
15 57M8824 Elec. Connector Accessory 2
16 57M7254 Elec. Connector Housing 1 RIGHT REAR FENDER FLOOD
57M7289 Elec.Connect Locking Device 1
17 RE12363 Elec. Connector Terminal 1 RIGHT EXTREMITY LIGHT
18 57M8864 Electrical Lamp Socket 1 - 009999
57M8864 Electrical Lamp Socket 1 010000 -
57M9211 Elec.Connect Locking Device 1
19A 57M7260 Elec. Connector Housing 1 - 009999
57M7291 Elec.Connect Locking Device 1 - 099999
key PART NO. PART NAME QTY SERIAL NO. REMARKS
19B 57M7260 Elec. Connector Housing 1 010000 -
57M7291 Elec.Connect Locking Device 1 010000 -
20 57M8864 Electrical Lamp Socket 1 010000 -
57M9211 Elec.Connect Locking Device 1 010000 -
21 57M8864 Electrical Lamp Socket 1 010000 -
57M9211 Elec.Connect Locking Device 1 010000 -

Cab Wiring Harness Connectors (3/3) (North American Version) (IVT)(Жгут проводов кабины разъемы североамериканской версии ИВТ)

key PART NO. PART NAME QTY SERIAL NO. REMARKS
1 RE250945 Cab Wiring Harness 1 - 009999
RE264041 Cab Wiring Harness 1 010000 -
RE279616 Cab Wiring Harness 1 (SUB FOR RE264041)
2 57M7714 Electrical Connector Assy 1 CORNER POST TACH
57M7719 Elec.Connect Locking Device 1
3 57M7254 Elec. Connector Housing 1 LEFT BELTLINE FLOOD
57M7289 Elec.Connect Locking Device 1
4 57M7260 Elec. Connector Housing 1 A/C SYSTEM
57M7291 Electrical Connector Assy 1
5 57M9237 Clip 1
key PART NO. PART NAME QTY SERIAL NO. REMARKS
6 57M7696 Elec. Connector Housing 1 A/C SYSTEM
57M7698 Elec.Connect Locking Device 1
7 57M8519 Elec. Connector Housing 1 TECU CONNECTOR J1
8 57M8527 Elec. Connector Housing 1 TECU CONNECTOR J2
9 57M8520 Elec. Connector Housing 1 TECU CONNECTOR J3
10 57M8523 Elec. Connector Housing 1 FCC 32 WAY CLINCH J3
11 57M8527 Elec. Connector Housing 1 FCC 32 WAY CLINCH J2
12 57M8519 Elec. Connector Housing 1 FCC 32 WAY CLINCH J1
13 57M8023 Elec. Connector Housing 1 IMPLEMENT CAN POWER CONNECTOR
57M7621 Elec.Connect Locking Device 1
key PART NO. PART NAME QTY SERIAL NO. REMARKS
14 57M8021 Electrical Connector Assy 1 IMPLEMENT CAN POWER CONNECTOR
57M8022 Elec.Connect Locking Device 1
15 57M8017 Elec. Connector Housing 1 IMPLEMENT CAN CAB CONNECTOR
57M7619 Elec.Connect Locking Device 1
16 57M8015 Electrical Connector Assy 1 IMPLEMENT CAN CAB CONNECTOR
57M8016 Elec.Connect Locking Device 1
17 57M7840 Elec. Connector Housing 1 Service ADVISOR™
57M7295 Elec.Connect Locking Device 1
18 57M7293 Elec. Connector Housing 1 RADAR FOR ISO 11786
57M7295 Elec.Connect Locking Device 1
key PART NO. PART NAME QTY SERIAL NO. REMARKS
19 57M7294 Elec. Connector Housing 1 RADAR
57M7295 Elec.Connect Locking Device 1
20 57M7294 Elec. Connector Housing 1 GPS
57M7295 Elec.Connect Locking Device 1
21 57M7254 Elec. Connector Housing 1 DOME LAMP
57M7289 Elec.Connect Locking Device 1
22 57M8825 Elec. Connector Housing 1 DOME LAMP SWITCH
23 ...... Electrical Connector Assy 1 RHC ROOF LAMP
24 57M8944 Elec. Connector Housing 1 OUTER ROOF CONNECTOR
57M8943 Elec.Connect Locking Device 1
key PART NO. PART NAME QTY SERIAL NO. REMARKS
25 57M7261 Elec. Connector Housing 1 OUTER ROOF CAN CONN
57M7296 Elec.Connect Locking Device 1
26 57M7256 Elec. Connector Housing 1 BEACON LIGHT
57M7289 Elec.Connect Locking Device 1
27 57M8781 Elec. Connector Housing 1 - 009999
57M9127 Elec. Connector Terminal 1 010000 -
28 57M8271 Electrical Connector Assy 1 FRONT ROOF FLOODS
57M8328 Elec.Connect Locking Device 1
29 57M9231 Elec. Connector Housing 1 RECONFIGURABLE DISPLAY; (USE WITH (7) 57M9388_Pins, (7) Z56915_Seals)
30 57M8839 Elec. Connector Housing 1 RIGHT BELTLINE FLOOD
key PART NO. PART NAME QTY SERIAL NO. REMARKS
57M8129 Elec. Connector Terminal 1
31 57M7713 Electrical Connector Assy 1 ISO 11786 CONNECTOR
32 57M8843 Elec. Connector Housing 1 010000 -
57M7725 Elec.Connect Locking Device 1 010000 -

Cab Wiring Harness Connectors (1/3) (European Version) (PST)(Жгут проводов кабины разъемы европейская версия ПСТ)

key PART NO. PART NAME QTY SERIAL NO. REMARKS
1 RE250944 Cab Wiring Harness 1 - 009999
RE277128 Cab Wiring Harness 1 010000 -
2 R77480 Electrical Connector Assy 1 START AID
3 RE46736 Electrical Connector Assy 1 KEY SWITCH
4 57M7472 Electrical Connector Assy 1 BRAKE SWITCHES
5 57M8933 Elec. Connector Housing 1 MODE ACTU.
6 57M7717 Electrical Connector Assy 1 STEERING COLUMN MODULE
7 57M7254 Elec. Connector Housing 1 PRESSURIZER MOTOR
57M7289 Elec.Connect Locking Device 1
8 57M7328 Elec. Connector Housing 1 DIFFLOCK SWITCH
key PART NO. PART NAME QTY SERIAL NO. REMARKS
57M7289 Elec.Connect Locking Device 1
9 57M8919 Elec. Connector Housing 1 FOOT THROTTLE
10 57M8835 Elec. Connector Accessory 3
11 57M8858 Elec. Connector Housing 1 DRIVER INFO CONNECTOR 1
57M8860 Elec.Connect Locking Device 1
12 57M8857 Elec. Connector Housing 1 DRIVER INFO CONNECTOR 2
57M8860 Elec.Connect Locking Device 1
13 57M7263 Elec. Connector Housing 1 MANUAL SEAT
57M7291 Elec.Connect Locking Device 1
14 57M7631 Elec. Connector Housing 1 ACTIVE SEAT
key PART NO. PART NAME QTY SERIAL NO. REMARKS
57M7680 Elec.Connect Locking Device 1
15 57M7629 Elec. Connector Housing 1 ACTIVE SEAT
57M7678 Elec.Connect Locking Device 1
16 57M7840 Elec. Connector Housing 1 ACTIVE SEAT
57M7469 Elec.Connect Locking Device 1
17 57M8889 Elec. Connector Housing 1 RHR NEUTRAL START SWITCH
57M9201 Elec.Connect Locking Device 1
18 M135518 Electrical Connector Assy 1 ARMREST CONTROL MODULE
57M8327 Elec.Connect Locking Device 1
19 57M8016 Elec.Connect Locking Device 1 USER INTERFACE MODULE
key PART NO. PART NAME QTY SERIAL NO. REMARKS
57M8015 Elec.Connect Locking Device 1
20 57M8017 Elec. Connector Housing 1 USER INTERFACE MODULE DUST CAP
57M7619 Elec.Connect Locking Device 1
21 57M7953 Electrical Connector Assy 1 - 009999
22 RE12364 Elec.Connect Locking Device 1 HAND BRAKE

Cab Wiring Harness Connectors (2/3) (European Version) (PST)(Жгут проводов кабины разъемы европейская версия ПСТ)

key PART NO. PART NAME QTY SERIAL NO. REMARKS
1 RE250944 Cab Wiring Harness 1 - 009999
RE277128 Cab Wiring Harness 1 010000 -
2 57M8847 Elec. Connector Housing 6 SPLICE PACK 1, 2, 3, 4, 5 & 6
57M8848 Elec.Connect Locking Device 6
3 57M7254 Elec. Connector Housing 1 LEFT REAR FENDER FLOOD
57M7289 Elec.Connect Locking Device 1
4 57M8616 Elec. Connector Housing 1 CHASSIS HARNESS
5 R112653 Grommet 1
6 RE210023 Electrical Connector Assy 1 IMPLEMENT CAN DATA CONNECTOR
7 57M8015 Electrical Connector Assy 1 IMPLEMENT CAN
key PART NO. PART NAME QTY SERIAL NO. REMARKS
57M8016 Elec.Connect Locking Device 1
8 57M8813 Elec. Connector Housing 1 LICENSE PLATE
9 AZ13378 Socket Outlet 1 7 PIN DOME ELECT. CONN.(SUB FOR L83677)
10 57M8815 Elec. Connector Housing 1 IMPLEMENT FLOOD
11 RE12363 Elec. Connector Terminal 1 HITCH DOWN SWITCH
12 57M8908 Clip 1
13 57M8274 Elec. Connector Housing 1 CHASSIS HARNESS
57M7300 Elec.Connect Locking Device 1
14 57M9229 Clip 4
15 57M8827 Clamp 2
key PART NO. PART NAME QTY SERIAL NO. REMARKS
16 57M7254 Elec. Connector Housing 1 RIGHT REAR FENDER FLOOD
57M7289 Elec.Connect Locking Device 1
17 R78054 Electrical Connector Assy 1 RIGHT EXTREMITY LIGHT
18 57M7260 Elec. Connector Housing 1 RIGHT HITCH UP/DN CONN.
57M7291 Elec.Connect Locking Device 1
19 57M8416 Elec. Connector Housing 1 RIGHT TAIL LAMP
57M7469 Elec.Connect Locking Device 1
20 57M8416 Elec. Connector Housing 1 LEFT TAIL LAMP
57M7469 Elec.Connect Locking Device 1
21 57M7687 Elec. Connector Housing 1 REAR REMOTE PTO SWITCH
key PART NO. PART NAME QTY SERIAL NO. REMARKS
57M7290 Elec.Connect Locking Device 1
22 57M7260 Elec. Connector Housing 1 LEFT HITCH UP/DOWN SWITCH
57M7291 Elec.Connect Locking Device 1
23 R78054 Electrical Connector Assy 1 LEFT EXTREMITY LIGHT

Cab Wiring Harness Connectors (3/3) (European Version) (PST)(Жгут проводов кабины разъемы европейская версия ПСТ)

key PART NO. PART NAME QTY SERIAL NO. REMARKS
1 RE250944 Cab Wiring Harness 1 - 009999
RE277128 Cab Wiring Harness 1 010000 -
2 57M7255 Elec. Connector Housing 1 LT CLEARANCE LAMP
57M7290 Elec.Connect Locking Device 1
3 57M7254 Elec. Connector Housing 1 LEFT BELTLINE FLOOD
57M7289 Elec.Connect Locking Device 1
4 57M7260 Elec. Connector Housing 1 A/C SYSTEM
57M7291 Electrical Connector Assy 1
5 57M9237 Clip 1
6 57M7696 Elec. Connector Housing 1 A/C SYSTEM
key PART NO. PART NAME QTY SERIAL NO. REMARKS
57M7698 Elec.Connect Locking Device 1
7 57M8519 Elec. Connector Housing 1 TECU CONNECTOR J1
8 57M8527 Elec. Connector Housing 1 TECU CONNECTOR J2
9 57M8520 Elec. Connector Housing 1 TECU CONNECTOR J3
10 57M8523 Elec. Connector Housing 1 FCC 32 WAY CLINCH J3
11 57M8527 Elec. Connector Housing 1 FCC 32 WAY CLINCH J2
12 57M8519 Elec. Connector Housing 1 FCC 32 WAY CLINCH J1
13 57M8023 Elec. Connector Housing 1 IMPLEMENT CAN POWER CONNECTOR
57M7621 Elec.Connect Locking Device 1
14 57M8021 Electrical Connector Assy 1 IMPLEMENT CAN POWER CONNECTOR
key PART NO. PART NAME QTY SERIAL NO. REMARKS
57M8022 Elec.Connect Locking Device 1
15 57M8017 Elec. Connector Housing 1 IMPLEMENT CAN CAB CONNECTOR
57M7619 Elec.Connect Locking Device 1
16 57M8015 Electrical Connector Assy 1 IMPLEMENT CAN CAB CONNECTOR
57M8016 Elec.Connect Locking Device 1
17 57M7840 Elec. Connector Housing 1 Service ADVISOR™
57M7295 Elec.Connect Locking Device 1
18 57M7293 Elec. Connector Housing 1 RADAR FOR ISO 11786
57M7295 Elec.Connect Locking Device 1
19 57M7294 Elec. Connector Housing 1 RADAR
key PART NO. PART NAME QTY SERIAL NO. REMARKS
57M7295 Elec.Connect Locking Device 1
20 57M7294 Elec. Connector Housing 1 GPS
57M7295 Elec.Connect Locking Device 1
21 57M7254 Elec. Connector Housing 1 DOME LAMP
57M7289 Elec.Connect Locking Device 1
22 57M8825 Elec. Connector Housing 1 DOME LAMP SWITCH
23 ...... Electrical Connector Assy 1 RHC ROOF LAMP
24 57M8944 Elec. Connector Housing 1 OUTER ROOF CONNECTOR
57M8943 Elec.Connect Locking Device 1
25 57M7261 Elec. Connector Housing 1 OUTER ROOF CAN CONN
key PART NO. PART NAME QTY SERIAL NO. REMARKS
57M7296 Elec.Connect Locking Device 1
26 57M7256 Elec. Connector Housing 1 BEACON LIGHT
57M7289 Elec.Connect Locking Device 1
27 57M8781 Elec. Connector Housing 1 - 009999
57M9127 Elec. Connector Terminal 1 010000 -
28 57M8271 Electrical Connector Assy 1 FRONT ROOF FLOODS
57M8328 Elec.Connect Locking Device 1
29 57M7255 Elec. Connector Housing 1 RT CLEARANCE LAMP
57M7290 Electrical Connector Assy 1
30 57M7254 Elec. Connector Housing 1 RIGHT BELTLINE FLOOD
key PART NO. PART NAME QTY SERIAL NO. REMARKS
57M7289 Elec.Connect Locking Device 1
31 57M7713 Electrical Connector Assy 1 ISO 11786 CONNECTOR
32 57M9231 Elec. Connector Housing 1 Reconfigurable Display; (USE WITH (7) 57M9388_Pins, (7) Z56915_Seals)
33 57M7714 Electrical Connector Assy 1 CORNER POST TACH
57M7719 Elec.Connect Locking Device 1
34 57M8843 Elec. Connector Housing 1 010000 -
57M7725 Elec.Connect Locking Device 1 010000 -

Cab Wiring Harness Connectors (1/3) (European Version), IVT™

key PART NO. PART NAME QTY SERIAL NO. REMARKS
1 RE250946 Cab Wiring Harness 1 - 009999
RE277131 Cab Wiring Harness 1 010000 -
2 R77480 Electrical Connector Assy 1 Start Aid
3 RE46736 Electrical Connector Assy 1 Key Switch
4A 57M7261 Elec. Connector Housing 1 - 009999
57M7296 Elec.Connect Locking Device 1
4B 57M7261 Elec. Connector Housing 1 010000 -
57M7296 Elec.Connect Locking Device 1
5 57M8933 Elec. Connector Housing 1 Mode Actu.
6 57M7717 Electrical Connector Assy 1 Steering Column Module
key PART NO. PART NAME QTY SERIAL NO. REMARKS
7 57M7254 Elec. Connector Housing 1 Pressurizer Motor
57M7289 Elec.Connect Locking Device 1
8 57M7328 Elec. Connector Housing 1 Difflock Switch
57M7289 Elec.Connect Locking Device 1
9 57M8919 Elec. Connector Housing 1 Foot Throttle
10 57M8835 Elec. Connector Accessory 3
11 57M8858 Elec. Connector Housing 1 Driver Info Connector 1
57M8860 Elec.Connect Locking Device 1
12 57M8857 Elec. Connector Housing 1 Driver Info Connector 2
57M8860 Elec.Connect Locking Device 1
key PART NO. PART NAME QTY SERIAL NO. REMARKS
13 57M7263 Elec. Connector Housing 1 Manual Seat
57M7291 Elec.Connect Locking Device 1
14 57M7631 Elec. Connector Housing 1 Active Seat
57M7680 Elec.Connect Locking Device 1
15 57M7629 Elec. Connector Housing 1 Active Seat
57M7678 Elec.Connect Locking Device 1
16 57M7840 Elec. Connector Housing 1 Active Seat
57M7469 Elec.Connect Locking Device 1
17 57M8889 Elec. Connector Housing 1 RHR Neutral Start Switch
57M9201 Elec.Connect Locking Device 1
key PART NO. PART NAME QTY SERIAL NO. REMARKS
18 M135518 Electrical Connector Assy 1 Armrest Control Module
57M8327 Elec.Connect Locking Device 1
19 57M8016 Elec.Connect Locking Device 1 User Interface Module
57M8015 Elec.Connect Locking Device 1
20 57M8017 Elec. Connector Housing 1 User Interface Module Dust Cap
57M7619 Elec.Connect Locking Device 1
21 57M7953 Electrical Connector Assy 1 - 009999
22 RE12364 Elec.Connect Locking Device 1 - 009999
23 57M8416 Elec. Connector Housing 1 IVT™ Select Switch
57M7469 Elec.Connect Locking Device 1
key PART NO. PART NAME QTY SERIAL NO. REMARKS
24 57M8919 Elec. Connector Housing 1 Clutch Pedal
25 57M7633 Electrical Connector Assy 1 Reverser Module
57M7682 Elec.Connect Locking Device 1

Cab Wiring Harness Connectors (2/3) (European Version), IVT™

key PART NO. PART NAME QTY SERIAL NO. REMARKS
1 RE250946 Cab Wiring Harness 1 - 009999
RE277131 Cab Wiring Harness 1 010000 -
2 57M8847 Elec. Connector Housing 6 Splice Pack 1, 2, 3, 4, 5 & 6
57M8848 Elec.Connect Locking Device 6
3 57M7254 Elec. Connector Housing 1 Left Rear Fender Flood
57M7289 Elec.Connect Locking Device 1
4 57M8616 Elec. Connector Housing 1 Chassis Harness
5 R112653 Grommet 1
6 RE210023 Electrical Connector Assy 1 Implement Can Data Connector
7 57M8015 Electrical Connector Assy 1 Implement Can
key PART NO. PART NAME QTY SERIAL NO. REMARKS
57M8016 Elec.Connect Locking Device 1
8 57M8813 Elec. Connector Housing 1 License Plate
9 AZ13378 Socket Outlet 1 7 Pin Dome Elect. Conn., SUB FOR L83677)
10 57M8815 Elec. Connector Housing 1 Implement Flood
11 RE12363 Elec. Connector Terminal 1 Hitch Down Switch
12 57M8908 Clip 1
13 57M8274 Elec. Connector Housing 1 Chassis Harness
57M7300 Elec.Connect Locking Device 1
14 57M9229 Clip 4
15 57M8827 Clamp 2
key PART NO. PART NAME QTY SERIAL NO. REMARKS
16 57M7254 Elec. Connector Housing 1 Right Rear Fender Flood
57M7289 Elec.Connect Locking Device 1
17 R78054 Electrical Connector Assy 1 Right Extremity Light
18 57M7260 Elec. Connector Housing 1 Right Hitch Up/Dn Conn.
57M7291 Elec.Connect Locking Device 1
19 57M8416 Elec. Connector Housing 1 Right Tail Lamp
57M7469 Elec.Connect Locking Device 1
20 57M8416 Elec. Connector Housing 1 Left Tail Lamp
57M7469 Elec.Connect Locking Device 1
21 57M7687 Elec. Connector Housing 1 Rear Remote PTO Switch
key PART NO. PART NAME QTY SERIAL NO. REMARKS
57M7290 Elec.Connect Locking Device 1
22 57M7260 Elec. Connector Housing 1 Left Hitch Up/Down Switch
57M7291 Elec.Connect Locking Device 1
23 R78054 Electrical Connector Assy 1 Left Extremity Light

Cab Wiring Harness Connectors (3/3) (European Version), IVT™

key PART NO. PART NAME QTY SERIAL NO. REMARKS
1 RE250946 Cab Wiring Harness 1 - 009999
RE277131 Cab Wiring Harness 1 010000 -
2 57M7255 Elec. Connector Housing 1 LT Clearance Lamp
57M7290 Elec.Connect Locking Device 1
3 57M7254 Elec. Connector Housing 1 Left Beltline Flood
57M7289 Elec.Connect Locking Device 1
4 57M7260 Elec. Connector Housing 1 A/C System
57M7291 Electrical Connector Assy 1
5 57M9237 Clip 1
6 57M7696 Elec. Connector Housing 1 A/C System
key PART NO. PART NAME QTY SERIAL NO. REMARKS
57M7698 Elec.Connect Locking Device 1
7 57M8519 Elec. Connector Housing 1 Tecu Connector J1
8 57M8527 Elec. Connector Housing 1 Tecu Connector J2
9 57M8520 Elec. Connector Housing 1 Tecu Connector J3
10 57M8523 Elec. Connector Housing 1 FCC 32 Way Clinch J3
11 57M8527 Elec. Connector Housing 1 FCC 32 Way Clinch J2
12 57M8519 Elec. Connector Housing 1 FCC 32 Way Clinch J1
13 57M8023 Elec. Connector Housing 1 Implement Can Power Connector
57M7621 Elec.Connect Locking Device 1
14 57M8021 Electrical Connector Assy 1 Implement Can Power Connector
key PART NO. PART NAME QTY SERIAL NO. REMARKS
57M8022 Elec.Connect Locking Device 1
15 57M8017 Elec. Connector Housing 1 Implement Can Cab Connector
57M7619 Elec.Connect Locking Device 1
16 57M8015 Electrical Connector Assy 1 Implement Can Cab Connector
57M8016 Elec.Connect Locking Device 1
17 57M7840 Elec. Connector Housing 1 Service Advisor™
57M7295 Elec.Connect Locking Device 1
18 57M7293 Elec. Connector Housing 1 Radar For Iso 11786
57M7295 Elec.Connect Locking Device 1
19 57M7294 Elec. Connector Housing 1 Radar
key PART NO. PART NAME QTY SERIAL NO. REMARKS
57M7295 Elec.Connect Locking Device 1
20 57M7294 Elec. Connector Housing 1 GPS
57M7295 Elec.Connect Locking Device 1
21 57M7254 Elec. Connector Housing 1 Dome Lamp
57M7289 Elec.Connect Locking Device 1
22 57M8825 Elec. Connector Housing 1 Dome Lamp Switch
23 ...... Electrical Connector Assy 1 RHC Roof Lamp
24 57M8944 Elec. Connector Housing 1 Outer Roof Connector
57M8943 Elec.Connect Locking Device 1
25 57M7261 Elec. Connector Housing 1 Outer Roof Can Conn
key PART NO. PART NAME QTY SERIAL NO. REMARKS
57M7296 Elec.Connect Locking Device 1
26 57M7256 Elec. Connector Housing 1 Beacon Light
57M7289 Elec.Connect Locking Device 1
27 57M8781 Elec. Connector Housing 1 - 009999
57M9127 Elec. Connector Terminal 1 010000 -
28 57M8271 Electrical Connector Assy 1 Front Roof Floods
57M8328 Elec.Connect Locking Device 1
29 57M7255 Elec. Connector Housing 1 RT Clearance Lamp
57M7290 Electrical Connector Assy 1
30 57M7254 Elec. Connector Housing 1 Right Beltline Flood
key PART NO. PART NAME QTY SERIAL NO. REMARKS
57M7289 Elec.Connect Locking Device 1
31 57M7713 Electrical Connector Assy 1 Reconfigurable Display; USE WITH (7) 57M9388_Pins, (7) Z56915_Seals
32 57M9231 Elec. Connector Housing 1 ITT Cannon
33 57M7714 Electrical Connector Assy 1 Corner Post Tach
57M7719 Elec.Connect Locking Device 1
34 57M8843 Elec. Connector Housing 1 010000 -
57M7725 Elec.Connect Locking Device 1 010000 -

CAB CONTROLLER (CAB/ASU)(КОНТРОЛЛЕР КАБИНЫ CABASU)

key PART NO. PART NAME QTY SERIAL NO. REMARKS
1 RE275612 Electronic Control Unit 1 - 009999
RE275612 Electronic Control Unit 1 010000 -
RE275620 Electronic Control Unit 1 010000 - 019999
RE275622 Electronic Control Unit 1 020000 -
2 R231112 Isolator 4
3 37M7232 Screw 2 M6 X 55
4 19M8649 Screw 2 M6 X 20
5 R228251 Bracket 1

HYDRAULIC CONTROLLER(ГИДРАВЛИЧЕСКИЙ РЕГУЛЯТОР)

key PART NO. PART NAME QTY SERIAL NO. REMARKS
1 RE219046 Electronic Control Unit 1 - 039999
RE231325 Hitch And Scv Controller 1 - 039999
RE260494 Electrohydraulic Controller 1 040000 -
PG200306 Elec Control Unit Reman 1 - 039999
PG200307 Hitch & SCV Control Reman 1 - 039999
2 AH117301 Clamp 1
3 R219318 Screw 2

CONTROLLER, IMPLEMENT GATEWAY (TECU/CLC)

key PART NO. PART NAME QTY SERIAL NO. REMARKS
1 RE210850 Electronic Control Unit 1 Implement Gateway/Cab Load Ce nter (CLC)/TECU (SUB PG200298)
PG200304 Elec Control Unit Reman 1 (REMAN FOR RE210850)

OPTIONAL (ELECTRONIC HITCH) CONTROLLER(ДОПОЛНИТЕЛЬНЫЙ ЭЛЕКТРОННЫЙ РЕГУЛЯТОР НЕУВЯЗОЧКА )

key PART NO. PART NAME QTY SERIAL NO. REMARKS
1 RE231325 Hitch And Scv Controller 1 (A) (MARKED RE251741) 5&6 SCV, GRAPPLE
2 H102554 Nut 2
3 TY22552 Spacer 2 (116MM)
4 08H4804 Bolt 2 1/4" X 7"
5 RE250961 Chassis Wiring Harness 1

ELECTRONIC CONTROL UNIT (ENGINE)(ЭЛЕКТРОННЫЙ БЛОК УПРАВЛЕНИЯ ДВИГАТЕЛЕМ)

key PART NO. PART NAME QTY SERIAL NO. REMARKS
1 RE520953 Engine Controller 1 - 009999
SE502801 Engine Controller Reman 1 REMAN FOR RE520953
RE531808 Electronic Control Unit 1 010000 -
SE502800 Engine Controller Reman 1 REMAN FOR RE531808
2 R219317 Screw 2

VEHICLE CONTROLLER(КОНТРОЛЛЕР ТРАНСПОРТНОГО СРЕДСТВА )

key PART NO. PART NAME QTY SERIAL NO. REMARKS
1 RE245262 Vehicle Controller 1 (PST)
RE247827 Vehicle Controller 1 (SUB FOR RE245257 ) (SUB PG200297) (IVT)
PG200303 Vehicle Controller Reman 1 (REMAN FOR RE247827)

WIRING HARNESS (ATC)(ЖГУТ ПРОВОДОВ УВД)

key PART NO. PART NAME QTY SERIAL NO. REMARKS
1 57M8549 Elec. Connector Housing 1
57M8721 Elec. Connector Accessory 1
2 57M7328 Elec. Connector Housing 1
57M7289 Elec.Connect Locking Device 1
3 57M8612 Elec. Connector Housing 2
57M8633 Elec. Connector Accessory 2
4 T28586 Electrical Connector Assy 1
5 57M9233 Receptacle 1
6 57M7254 Receptacle 1
57M7289 Elec.Connect Locking Device 1
key PART NO. PART NAME QTY SERIAL NO. REMARKS
7 57M7699 Elec. Connector Terminal 1
57M7697 Electrical Connector Assy 1
8 57M8624 Elec.Connect Locking Device 1
9 57M8206 Elec. Connector Housing 1
10 57M7291 Electrical Connector Assy 1
57M7263 Elec. Connector Housing 1
11 RE211470 Cab Wiring Harness 1 - 009999
RE264043 Cab Wiring Harness 1 010000 -

Wiring Harness, Manual Air Conditioning ( - 009999)

key PART NO. PART NAME QTY SERIAL NO. REMARKS
1 RE250948 Cab Wiring Harness 1 SUB FOR RE211471
2 RE46734 Electrical Connector Assy 1
3 ...... Elec. Connector Housing 2
4 ...... Elec. Connector Terminal 1
5 R77476 Electrical Connector Assy 1
6 57M7457 Elec. Connector Housing 1
7 57M7257 Elec. Connector Housing 1
8 57M7697 Electrical Connector Assy 1
9 ...... Elec. Connector Housing 1
10 57M7328 Elec. Connector Housing 1

STARTING CIRCUIT RELAY(НАЧИНАЯ РЕЛЕ СХЕМА )

key PART NO. PART NAME QTY SERIAL NO. REMARKS
1 RE164448 Starter Relay 1
2 14M7303 Flange Nut 2 M6
3 12M7060 Lock Washer 2
4 14H631 Nut 2 0.190"
5 12M7032 Lock Washer 2 8.400 mm
6 14H785 Nut 2 5/16"
7 R264946 Cover 1 (SUB FOR R113164)
8 14M7303 Flange Nut 2 M6
9 R74993 Boot 2
10 RE170320 Starter Relay 1

Hydraulic Differential Lock Switch(Гидравлический Переключатель Дифференциального Замка)

key PART NO. PART NAME QTY SERIAL NO. REMARKS
1 L80302 Label 1
2 RE43637 Actuator 1
3 51M7042 O-Ring 1 13.300 X 2.200 mm
4 RE46534 Switch 1
5 57M7328 Connector 1
6 ...... Cab Wiring Harness 1

Wiring Harness (Cab Power)(Жгут Проводов Кабины Мощность)

key PART NO. PART NAME QTY SERIAL NO. REMARKS
1 R52931 Screw 2
2 19M7372 Cap Screw 2 M5 X 16
3 R291684 Washer 2
4 14M7100 Nut 1 M4
5 RE234018 Cable 2 (C)
6 RE211485 Cable 1 (B) (+)
7 14M7273 Nut 1 M8
12H291 Lock Washer 1 5/16"
8 RE250958 Chassis Wiring Harness 1 - 009999
RE264044 Chassis Wiring Harness 1 010000 -
key PART NO. PART NAME QTY SERIAL NO. REMARKS
RE250959 Chassis Wiring Harness 1 - 009999
RE264045 Chassis Wiring Harness 1 010000 -
9 57M8964 Fuse 1
10 RE239622 Junction Block 1 (250 AMP)
11 14M7274 Nut 1 M10
12M7033 Lock Washer 1 10.500 mm
12 RE253997 Battery Cable 1
13 RE227767 Roof Wiring Harness 1
14 R281023 Hose 1 - 009999
...... Radiator Hose 1 010000 -
key PART NO. PART NAME QTY SERIAL NO. REMARKS
15 37M7058 Screw 1 M8 X 20
16 R114103 Clamp 1

CAB AND CHASSIS GROUND CABLE(КАБИНЫ И ШАССИ ЗАЗЕМЛЕНИЯ)

key PART NO. PART NAME QTY SERIAL NO. REMARKS
1 14M7296 Flange Nut 1 M10
2 RE60634 Battery Cable 1 (-)
3 19M7167 Cap Screw 1 M10 X 25
4 24M7028 Washer 1 10.500 X 20 X 2 mm

WIRING HARNESS-SEAT(ПРОВОДКА HARNESSSEAT)

key PART NO. PART NAME QTY SERIAL NO. REMARKS
1 RE225255 Wiring Harness 1 (A)
2 RE225257 Switch 1
3 57M11516 Elec. Connector Terminal 2 USE WITH R104846_Pin and 57M7501_Pin
4 57M7260 Elec. Connector Housing 1 TRACTOR CAB; USE WITH R10 4846_Pin and 57M7258_Seal
57M7291 Elec.Connect Locking Device 1
57M7259 Elec. Connector Seal 2
5 RE12363 Elec. Connector Terminal 1 SEAT SWITCH; USE WITH (2) R7806 0_Pins, (2) R78059_Pins, (2) R10 4846_Seals and (2) 57M7258_Seals
6 57M7789 Elec. Connector Housing 1 COMPRESSOR; USE WITH (3) 57M7501_Pins
57M7724 Elec.Connect Locking Device 2

WIRING HARNESS (ACTIVE SEAT)(ЖГУТ ПРОВОДОВ АКТИВНОЕ СИДЕНЬЕ)

key PART NO. PART NAME QTY SERIAL NO. REMARKS
1 RE239997 Wiring Harness 1
2 RE228095 Toggle/Rocker Switch 1 (B)
3 RE189796 Toggle/Rocker Switch 1 (A)

Wiring Harness, Brake Lights

key PART NO. PART NAME QTY SERIAL NO. REMARKS
1 RE186986 Junction Block 1 SUB FOR R111931
2 14M7194 Nut 1 M6
3 14M7297 Nut 1 M5
4 RE48876 Relay 1
ET15766 Elec. Connector Housing 1
M75140 Clip 1
5 ET15766 Elec. Connector Housing 1
6 R104846 Elec. Connector Terminal 1
57M7258 Elec. Connector Seal 1
7 RE61403 Wiring Harness 1

AUXILIARY POWER STRIP(ВСПОМОГАТЕЛЬНОЙ СИЛОВОЙ ПОЛОСЫ)

key PART NO. PART NAME QTY SERIAL NO. REMARKS
1 RE67013 Adapter Fitting 1
2 RE67015 Adapter Fitting 1 (A)
RE67016 Adapter Fitting 1 (B)
3 RE67014 Adapter Fitting 1
4 37M7384 Screw 2
5 RE67019 Cap 5
6 RE68495 Strip 1
7 R52931 Screw 2
8 R132150 Bracket 1
9 RE186986 Junction Block 1 (SUB FOR R111931)

Wiring Harness, Driver information (CONSOLE) ( - 009999)

key PART NO. PART NAME QTY SERIAL NO. REMARKS
1 RE211474 Cab Wiring Harness 1 - 001744
RE256016 Cab Wiring Harness 1 001745 -
2 57M8858 Elec. Connector Housing 1 Cab Harness Interconnect 1
3 57M7256 Elec. Connector Housing 1 Warning Horn
57M7289 Elec.Connect Locking Device 1
4 57M8802 Elec. Connector Housing 1 Infocenter Display
5 57M7839 Electrical Connector Assy 1 Implement CAN
57M7469 Elec.Connect Locking Device 1
6 57M7985 Electrical Connector Assy 1 ATC CAN
57M7289 Elec.Connect Locking Device 1
key PART NO. PART NAME QTY SERIAL NO. REMARKS
7 RE46735 Connector 1 Front Wiper Switch
8 57M8758 Elec. Connector Housing 1 Road Lights
9 57M7257 Elec. Connector Housing 3 Field Light, Pto Remote, Rear Wiper Switch
57M7290 Elec.Connect Locking Device 3
10 57M8815 Elec. Connector Housing 2 Hazard Switch
11 57M7263 Elec. Connector Housing 1 MFWD Switch
57M7291 Elec.Connect Locking Device 1
12 57M8857 Elec. Connector Housing 1 Cab Harness Interconnect 2
13 57M7919 Elec. Connector Housing 1 Service ADVISOR™
14 R78054 Electrical Connector Assy 1 Conveniece Outlet
key PART NO. PART NAME QTY SERIAL NO. REMARKS
15 57M7714 Electrical Connector Assy 1 SCV Set-Up Panel
57M7719 Elec.Connect Locking Device 1
16 57M7260 Elec. Connector Housing 1 Tractor Can Active Terminating Device
57M7291 Elec.Connect Locking Device 1
17 RE207311 Electronic Control Unit 1

Wiring Harness, Driver information (CONSOLE) (010000 - )

key PART NO. PART NAME QTY SERIAL NO. REMARKS
1 RE227765 Wiring Harness 1
2 57M8858 Elec. Connector Housing 1 CAB HARNESS INTERCONNECT 1
57M8860 Elec.Connect Locking Device 1
3 57M7256 Elec. Connector Housing 1 WARNING HORN
57M7289 Elec.Connect Locking Device 1
4 57M7713 Electrical Connector Assy 1 INVERTER BACKLIGHTING
57M7718 Elec.Connect Locking Device 1
5 57M7260 Elec. Connector Housing 1 TRACTOR CAN - TERMINATING DEVICE
57M7291 Elec.Connect Locking Device 1
6 R78054 Electrical Connector Assy 1 CONVENIENCE OUTLET
key PART NO. PART NAME QTY SERIAL NO. REMARKS
7 57M8802 Elec. Connector Housing 1 INFOCENTER DISPLAY
57M8783 Elec. Connector Housing 1
8 57M7839 Electrical Connector Assy 1 IMPLEMENT CAN
57M7469 Elec.Connect Locking Device 1
9 57M7985 Electrical Connector Assy 1 TO ATC HARNESS
57M7289 Elec.Connect Locking Device 1
10 RE46735 Electrical Connector Assy 1 FRONT WIPER SWITCH
11 57M8758 Elec. Connector Housing 1 ROAD LIGHTS
12 57M7791 Elec. Connector Housing 1 FEILD LIGHT SWITCH
57M7730 Elec.Connect Locking Device 1
key PART NO. PART NAME QTY SERIAL NO. REMARKS
13 57M7790 Electrical Connector Assy 1 HAZARD SWITCH
57M7729 Elec.Connect Locking Device 1
14 57M7714 Electrical Connector Assy 1 SCV SET-UP PANEL
57M7719 Elec.Connect Locking Device 1
15 57M7793 Elec. Connector Housing 1 MFWD SWITCH
57M7732 Elec.Connect Locking Device 1
16 57M7790 Electrical Connector Assy 1 REAR WIPER SWITCH
17 57M7792 Electrical Connector Assy 1 EH SECONDARY BRAKE SWITCH
18 57M7791 Elec. Connector Housing 1 PTO REMOTE SELECT SWITCH
19 57M9183 Elec. Connector Housing 1 Service ADVISOR™
key PART NO. PART NAME QTY SERIAL NO. REMARKS
20 57M8857 Elec. Connector Housing 1 CAB HARNESS INTERCONNECT 2

WIRING HARNESS (FIELD OFFICE)(ЖГУТ ПРОВОДОВ ОТДЕЛЕНИЯ )

key PART NO. PART NAME QTY SERIAL NO. REMARKS
1 AR56766 Housing 2
2 R131671 Plug 2
3 RE37640 Socket Outlet 1
RE241868 Wiring Harness 1 (A)
4 R133192 Rivet 4
5 RE67821 Wiring Harness 1
6 19H3358 Cap Screw 2 0.190" X 1"
7 RE186986 Junction Block 1 (SUB FOR R111931)
8 RE227767 Roof Wiring Harness 1

Console Controls and Switches ( - 009999)(Элементы управления консоли и переключатели )

key PART NO. PART NAME QTY SERIAL NO. REMARKS
1 M115279 Plug AR - 001744
N202894 Plug AR 001745 -
2 RE55476 Toggle/Rocker Switch 1 (F)
3 57M7255 Connector 1 USE WITH R104846_Pin and 57M7258_Seal
57M7290 Electrical Connector Assy 1
4 RE55477 Toggle/Rocker Switch 1 (E)
5 57M7260 Connector 1 USE WITH R104846_Pin and 57M7258_Seal
57M7291 Electrical Connector Assy 1
57M7259 Elec. Connector Seal 1
6 RE55036 Hazard Lights Switch 1
key PART NO. PART NAME QTY SERIAL NO. REMARKS
RE183929 Toggle/Rocker Switch 1 (A) (C)
7 AL76568 Knob 2
8 R44165 Lock Nut 2
9 RE61418 Knob 1
10 RE154222 Switch 1 (A) (G)
RE152475 Switch 1 (B) (G)
11 RE46634 Switch 1 (I)
12 RE43497 Switch 1 (J)
13 AL76568 Knob 1
14 RE46742 Control 1 (K)
key PART NO. PART NAME QTY SERIAL NO. REMARKS
15 RE165815 AC Compressor Switch 1
16 RE152147 Knob 1
17 RE203028 Toggle/Rocker Switch 1 (A) (L)
57M7255 Elec. Connector Housing 1 USE WITH R104846_Pin and 57M7258_Seal
57M7290 Electrical Connector Assy 1
18 RE188579 Knob 1
19 RE262679 Switch 1 (B) (M) (H) SUB FOR RE170307
20 57M8415 Elec. Connector Housing 1 USE WITH 57M7252_Pin and 57M7258_Seal
57M7469 Electrical Connector Assy 1
21 RE49727 Horn 1
key PART NO. PART NAME QTY SERIAL NO. REMARKS
22 57M7254 Connector 1 USE WITH R104846_Pin and 57M7258_Seal
57M7289 Elec.Connect Locking Device 1
23 R125138 Label 1
24 R47474 Clip 1
25 37M7095 Screw 4 (A)
26 R191931 Retainer 1
27 R64822 Nut 2
28 37H215 Screw 2
29 RE217864 Cap 1 (D)
30 R108166 Rivet 4
key PART NO. PART NAME QTY SERIAL NO. REMARKS
31 R131671 Plug 1
32 AR56766 Housing 1
33 RE221356 Control 1 ATC
34 RE58614 Push Pull Cable 1
35 L155075 Plate 1 (A) (D)

Console Controls And Switches (010000 - )(Элементы Управления Консоли И Переключатели )

key PART NO. PART NAME QTY SERIAL NO. REMARKS
1 RE246302 Control 1 (B) SUB RE264981
2 RE188579 Kit 3 (B)
3 RE248931 Switch 1 (I) INCLUDES 57M7790, 57M7729, 57M9189
57M7790 Electrical Connector Assy 1
57M7729 Electrical Connector Assy 1
57M9189 Elec. Connector Terminal 1
4 RE248938 Switch 1 (J) INCLUDES 57M7791, 57M7730, 57M8293
57M7791 Elec. Connector Housing 1
57M7730 Electrical Connector Assy 1
57M8293 Elec. Connector Terminal 1
key PART NO. PART NAME QTY SERIAL NO. REMARKS
5 RE248950 Switch 1 (K) INCLUDES 57M7792, 57M7731, 57M9189
57M7792 Electrical Connector Assy 1
57M7731 Electrical Connector Assy 1
57M9189 Elec. Connector Terminal 1
6 RE248935 Switch 1 (L) INCLUDES 57M7791, 57M8293, 57M7730
57M7791 Elec. Connector Housing 1
57M8293 Elec. Connector Terminal 1
57M7730 Electrical Connector Assy 1
7 RE265350 Switch 1 (G) (Q) SUB FOR RE249716
8 RE248945 Switch 1 (M) (Q) INCLUDES 57M 7790, 57M7729, 57M9189
key PART NO. PART NAME QTY SERIAL NO. REMARKS
57M7790 Electrical Connector Assy 1
57M7729 Electrical Connector Assy 1
57M9189 Elec. Connector Terminal 1
9 AL76568 Knob 1 (B)
AL76568 Knob 3 (C)
10 R44165 Lock Nut 2
11 RE152475 Switch 1 (B) (E) (T)
12 RE154222 Switch 1 (C) (E)
13 RE46634 Switch 1 (N)
14 RE248944 Switch 1 (O) INCLUDES 57M7790, 57M7729, 57M9189
key PART NO. PART NAME QTY SERIAL NO. REMARKS
57M7790 Electrical Connector Assy 1
57M7729 Electrical Connector Assy 1
57M9189 Elec. Connector Terminal 1
15 RE191648 Louver 1
16 RE152147 Knob 1
17 R191931 Retainer 1
18 37H215 Screw 2
19 R108166 Rivet 4
20 37M7095 Screw 4
21 RE241868 Wiring Harness 1 (A) (Q)
key PART NO. PART NAME QTY SERIAL NO. REMARKS
22 37M7089 Screw 3 M6 X 12
23 AR56766 Housing 1
24 R131671 Plug 1
25 RE248008 Inverter 1
26 RE248943 Switch 1 (P) INCLUDES 57M7788, 57M7727, 57M9189
57M7788 Electrical Connector Assy 1
57M7727 Electrical Connector Assy 1
57M9189 Elec. Connector Terminal 1
27 RE46742 Control 1 (C)
28 RE43497 Switch 1 (S)
key PART NO. PART NAME QTY SERIAL NO. REMARKS
29 RE247997 Label 1
30 RE247992 Label 1
RE247993 Label 1 (Q)
RE247994 Label 1 (H)
RE247995 Label 1 (H) (Q)
31 M115279 Plug 1
32 N202894 Plug 1
33 RE58614 Push Pull Cable 1
34 RE247996 Label 1
35 RE49727 Horn 1
key PART NO. PART NAME QTY SERIAL NO. REMARKS
36 RE61418 Knob 1
37 RE37640 Socket Outlet 1 (A) (R)
38 R64822 Nut 1
39 RE217864 Cap 1 (F)
40 RE262679 Switch 1 (D) SUB FOR RE170307
41 L155075 Plate 1
42 R189715 Panel 1

Instrument Control unit (ICU) And SCV Set-up Panel (SUP)(Приборов блок управления СИС и ВСК панели установки вечерять)

key PART NO. PART NAME QTY SERIAL NO. REMARKS
1 RE219034 Vehicle Monitor 1 (A) (PST)
RE219053 Vehicle Monitor 1 (B) (PST)
RE183707 Vehicle Monitor 1 (B) (IVT)
RE183708 Vehicle Monitor 1 (A) (IVT)
2 R107890 Bulb 10
3 R121797 Nut 3
4 R222397 Knob 1
5 R107890 Bulb 8
6 RE177049 SCV Setup Panel 1
7 R222397 Knob 2

KEY AND ETHER AID SWITCHES(КЛЮЧ И ЭФИРОМ ПОМОЩИ ПЕРЕКЛЮЧАТЕЛЕЙ)

key PART NO. PART NAME QTY SERIAL NO. REMARKS
1 T55585 Cap 1
2 T15969 Nut 1 15.875 mm (5/8")
3 R39554 Switch 1
4 R77480 Connector 1 (ALSO ORDER (2) U46662)
5 R107598 Bracket 1
6 19M7775 Screw 2 M6 X 16
7 RE46736 Electrical Connector Assy 1 (ALSO ORDER (3) 57M7429, (3) 57M7511 AND 57M7512)
8 A4827R Washer 1
9 R44342 Nut 1
10 RE61717 Rotary Switch 1
key PART NO. PART NAME QTY SERIAL NO. REMARKS
11 RE183935 Key 1
12 ...... Cab Wiring Harness 1

Engine Speed Control, Armrest

key PART NO. PART NAME QTY SERIAL NO. REMARKS
1 19M7177 Cap Screw 1 M6 X 35
2 19M8825 Screw 1 M3 X 10
3 R153185 Knob 1
4 R110682 Lever 1
5 21M7475 Screw 2 M4 X 35
6 R112513 Washer 2
7 R160971 Gear 1
8 R161080 Clip 1
9 R160970 Bracket 1
10 37M7340 Bolt 2
key PART NO. PART NAME QTY SERIAL NO. REMARKS
11 14M7165 Lock Nut 1 M6
12 RE575334 Sensor 1 SUB FOR RE243771 OR RE240198
13 24M7117 Washer 3 4.300 X 9 X 0.800 mm
14 R124873 Spring 1
15 14M7264 Lock Nut 2 M4
16 RE68290 Kit 1 ORDER COMPONENTS
17 R117569 Screw 1
18 H111706 Screw 1
19 R122339 Washer 2
20 R259090 Washer 1

Transmission Control Selector, Armrest, PST

key PART NO. PART NAME QTY SERIAL NO. REMARKS
1 R113246 Screw 2
2 R558740 Cover 1 SUB FOR R107588
3 R166258 Guide 1
4 R187690 Spring 1
5 RE218979 Sensor 1
6 R124241 Spring 1
7 21M7276 Screw 1 M4 X 30
8 21M7216 Screw 1 M4 X 20
9 R72654 Snap Ring 1
10 R296817 Housing 1 SUB FOR R127879
key PART NO. PART NAME QTY SERIAL NO. REMARKS
11 RE174520 Switch 1 (A)
12 RE311400 Sector 1 SUB FOR RE63687
13 R107583 Extension Spring 1
14 R153184 Knob 1
15 RE258526 Lever 1 SUB FOR RE245557
16 R40687 Snap Ring 1
17 24M7117 Washer 1 4.300 X 9 X 0.800 mm
18 R134449 Spring 1
19 R121919 Pin 1
20 R275315 Pin 1 SUB FOR R121918
key PART NO. PART NAME QTY SERIAL NO. REMARKS
21 R40687 Snap Ring 1
22 R123999 Pivot 1
23 R124711 Spring 1
24 R557168 Shield 1 SUB FOR R296818 OR R196998
25 R113246 Screw 3

ARMREST ELECTRICAL COMPONENTS(ПОДЛОКОТНИК ЭЛЕКТРИЧЕСКИЕ КОМПОНЕНТЫ)

key PART NO. PART NAME QTY SERIAL NO. REMARKS
1 RE216533 Control Lever 1 (A)
2 RE216530 Rocker Switch 3
3 RE223554 Toggle/Rocker Switch 1 (B)
4 R166260 Cover 1 (W/O (D))
5 R166259 Cover 1
6 RE160963 Rocker Switch 1 (C)
7 RE216530 Lever 1
8 R162125 Cover 1
R225525 Bracket 1 (F)
9 37M7384 Screw 2
key PART NO. PART NAME QTY SERIAL NO. REMARKS
10 R166261 Cover 1
11 RE254460 Toggle/Rocker Switch 1 (D) (SUB FOR RE175353)
RE258928 Toggle/Rocker Switch 1 (E) (SUB FOR RE236819, OR RE248944 THIS APPLICATION)

Armrest Controller Unit (ACU)(Блок управления подлокотник АМКУ)

key PART NO. PART NAME QTY SERIAL NO. REMARKS
1 37M7384 Screw 2
2 RE239078 Electronic Control Unit 1 ORDER RM100030
RM100030 Elec Control Unit Reman 1 REMAN FOR RE239078
3 R115850 Screw 1

SELECTIVE CONTROL LEVERS 1, 2 AND 3 (ARMREST)

key PART NO. PART NAME QTY SERIAL NO. REMARKS
1 RE216530 Lever 3
2 R171535 Bracket 3
3 R115850 Screw 3
4 R125878 Arm 3
5 R217571 Torsion Spring 6
6 R125879 Torsion Spring 3
7 RE267676 Potentiometer 3 (SUB FOR RE60659)
8 RE211478 Cab Wiring Harness 1
9 57M7708 Electrical Connector Assy 3 (ALSO ORDER (4) 57M7551)
10 RE216533 Control Lever 1
key PART NO. PART NAME QTY SERIAL NO. REMARKS
11 AR114522 SCV Controller 1 (SUB TO COMPONENTS)

SELECTIVE CONTROL LEVERS 4 AND 5 (ARMREST)(СЕЛЕКТИВНЫЙ РЫЧАГИ УПРАВЛЕНИЯ И ПОДЛОКОТНИК)

key PART NO. PART NAME QTY SERIAL NO. REMARKS
1 R115850 Screw 1
2 R162124 Cover 1
3 RE216530 Lever 3
4 R171535 Bracket 1
5 R115850 Screw 1
6 R125878 Arm 1
7 R217571 Torsion Spring 2
8 R125879 Torsion Spring 1
9 RE267676 Potentiometer 1 (SUB FOR RE60659)
10 57M7714 Electrical Connector Assy 1 (ALSO ORDER (6) 57M7549)
key PART NO. PART NAME QTY SERIAL NO. REMARKS
11 RE223879 Wiring Harness 1
12 57M7708 Electrical Connector Assy 2 (ALSO ORDER (8) 57M7549)
13 37M7179 Screw 2
14 R162126 Housing 1 (A)
15 RE216533 Control Lever 1
16 RE253625 Label Kit 1

IVT Shifting (CommandARM™)(ИВТ смещения CommandARM)

key PART NO. PART NAME QTY SERIAL NO. REMARKS
1 RE245190 Control 1 (A)
RE245189 Control 1 (B)
2 21M7252 Screw 1 (B) M4 X 16
37M7235 Screw 1 (A)
3 R318384 Guide 1 (SUB FOR R173025)
4 R243382 Cover 1
5 L114997 Knob 1
6 L173383 Bushing 1 (SUB FOR L116193)
7 L116148 Spacer 1
8 L116147 Cover 1
key PART NO. PART NAME QTY SERIAL NO. REMARKS
9 37M7342 Screw 2
10 RE264614 Sensor 1 (A) (B) (SUB FOR RE225573)
11 L114994 Strap 1
12 R243381 Grip 1
13 R243380 Grip 1
14 19M9326 Screw 1 (B) M4 X 30
37M7345 Screw 1 (A)

WIRING HARNESS (ARMREST TO CAB)(ЖГУТ ПРОВОДОВ ПОДЛОКОТНИК НА ТАКСИ)

key PART NO. PART NAME QTY SERIAL NO. REMARKS
1 57M7708 Connector 5 (ALSO ORDER (20) 57M7551)
2 57M7713 Connector 2
3 RE211478 Wiring Harness 1
4 57M7708 Electrical Connector Assy 1
5 57M8806 Elec. Connector Housing 1
.. R105388 Tie Band 2
.. R44302 Tie Band 1

Single Lever Control(Один Рычаг Управления )

key PART NO. PART NAME QTY SERIAL NO. REMARKS
1 AL113865 Toggle/Rocker Switch 1
2 19M8831 Screw 4 M5 X 16
3 L113119 Washer 4
4 L152161 Housing 1
5 L151020 Screw 2
6 L153387 Insert 1
7 L151887 Bracket 1
8 37M7286 Screw 5
9 L116119 Actuator 1
10 RE265816 Control Lever 1 (SUB FOR RE236715)
key PART NO. PART NAME QTY SERIAL NO. REMARKS
11 L115772 Bolt 2
12 L115773 Washer 2
13 L115253 Pin Fastener 1
14 L113570 Clamp 1
15 L152378 Housing 1
16A RE265818 Multi-Functional Controller 1 (USE WITH RE265816 ) (SUB PG200558)
PG200564 Multi-Func Controller Reman 1 (REMAN FOR RE265818)
16B RE265813 Control Lever 1 (SUB FOR RE233558 ) (USE WI TH RE236715 ) (SUB PG200557)
PG200563 Multi-Func Controller Reman 1 (REMAN FOR RE265813)
17 AR243091 Field Installation Kit 1

WIRING HARNESS (ACU) MAIN(ЖГУТ ПРОВОДОВ ОСНОВНОЙ АМКУ )

key PART NO. PART NAME QTY SERIAL NO. REMARKS
1 RE211476 Cab Wiring Harness 1
2 57M8271 Electrical Connector Assy 1
57M8328 Elec.Connect Locking Device 1
3 57M8804 Elec. Connector Housing 1
4 57M8890 Elec. Connector Housing 1
57M9202 Elec.Connect Locking Device 1
5 57M7256 Elec. Connector Housing 1
57M7289 Elec.Connect Locking Device 1

DOOR LIGHT SWITCH(ДВЕРИ ВЫКЛЮЧАТЕЛЬ СВЕТА)

key PART NO. PART NAME QTY SERIAL NO. REMARKS
1 RE51234 Push Switch 1
2 R44097 Nut 1

BRAKE SWITCH(ПЕРЕКЛЮЧАТЕЛЬ ТОРМОЗА)

key PART NO. PART NAME QTY SERIAL NO. REMARKS
1 RE66277 Push Switch 1 - 009999
2 R124716 Retainer 1
3 R220272 Bracket 1 - 009999
R194599 Bracket 1 010000 -

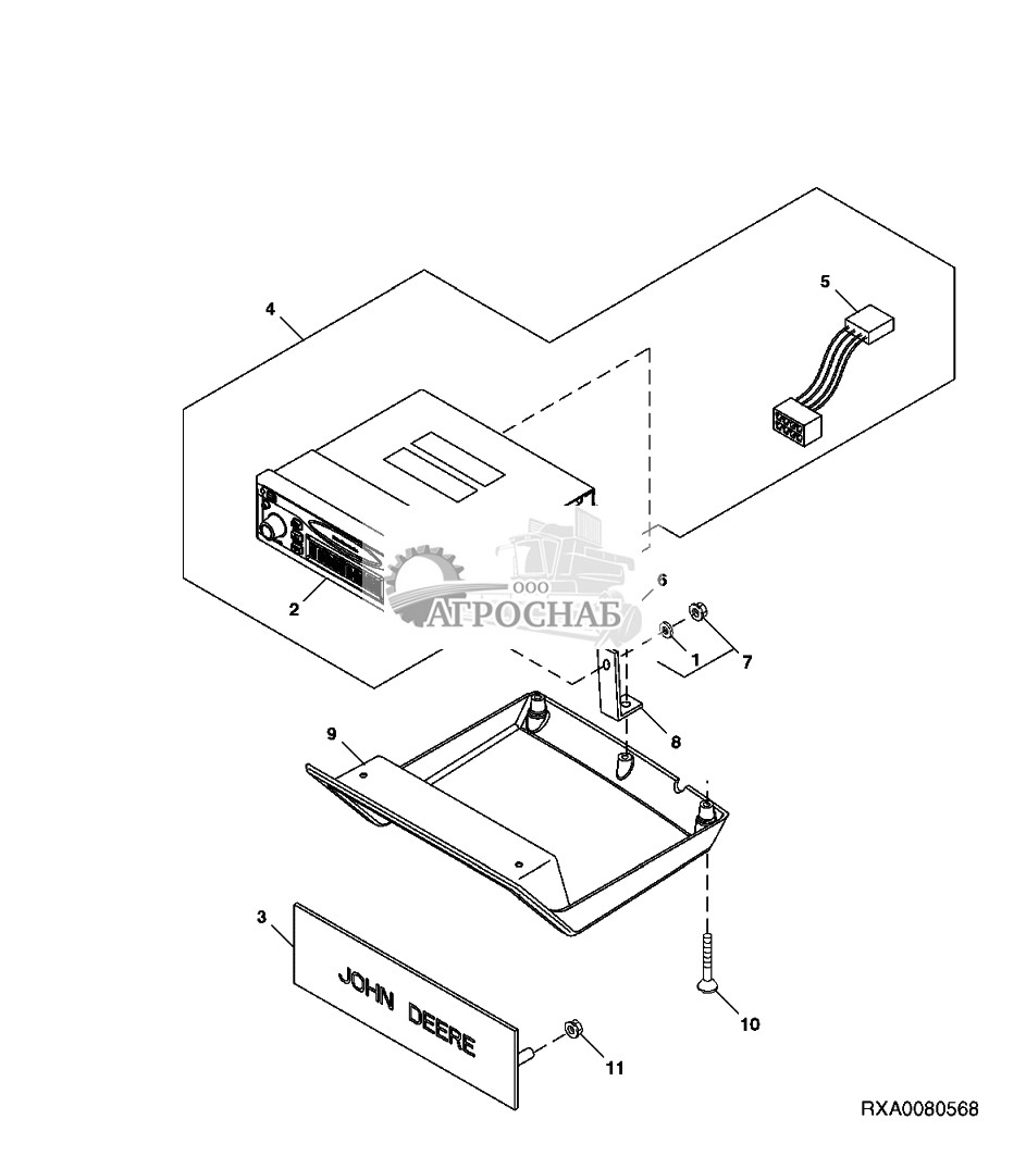
Radio, Deere/Delco AM/FM Stereo with Single Compact Disc Player, Attachment

key PART NO. PART NAME QTY SERIAL NO. REMARKS
1 RE321109 Radio Kit 1 SUB FOR RE289852 OR RE234151

Radio And Brackets(Радио И Кронштейны)

key PART NO. PART NAME QTY SERIAL NO. REMARKS
1 24M7138 Washer 1 5.300 X 15 X 1 mm
2 RE575067 Radio 1 (A) SUB FOR RE334177 OR RE321101 OR RE265545 OR RE190139 OR AH167570
RE575068 Radio 1 (B) SUB FOR RE334178 OR RE321106 OR RE289629 OR RE190140 OR RE227953 OR RE190141 OR AH162037 OR AH15932 3
3 H132795 Panel 4 (C)
4 RE321102 Radio 1 (A) ORDER RE334177 AND RE165739; SUB FOR RE196193 OR RE289848; FI
RE321109 Radio 1 (B) SUB FOR RE289852 OR RE234151; FI
5 RE165739 Radio Speaker WRG Harness 1
6 21M7395 Screw 1 M4 X 8
7 14M7297 Nut 1 M5
8 R113042 Bracket 1
key PART NO. PART NAME QTY SERIAL NO. REMARKS
9 R95800 Bezel 1
10 37M7369 Screw 4
11 H117239 Push Nut 2 (C)

CORNER POST DISPLAY(УГЛОВОЙ ДИСПЛЕЙ)

key PART NO. PART NAME QTY SERIAL NO. REMARKS
1 R107890 Bulb 4
R117645 Bulb 3
2 RE325413 Tachometer 1 SUB FOR RE246544 OR RE221495
3 R120160 Clip 4
4 57M7715 Electrical Connector Assy 1
5 ...... Cab Wiring Harness 1

ANTENNA CABLE AND RADIO BRACKET (MOBILE RADIO)(АНТЕННЫЙ КАБЕЛЬ И РАДИО КРОНШТЕЙН ДЛЯ МОБИЛЬНОГО РАДИО)

key PART NO. PART NAME QTY SERIAL NO. REMARKS
1 19M7932 Cap Screw 1 M8 X 16
2 12M7032 Lock Washer 1 8.400 mm
3 14M7166 Lock Nut 1 M8
4 RE70019 Cable 1 (A)
99M7073 Plug 1
5 R134326 Plate 1 (A)
6 H123995 Screw 2 (A) (SUB FOR R126355, THIS APPLICATION)
7 RE67820 Wiring Harness 1
8 R41440 Grommet 1 (A)
9 R125869 Pad 2 (A)
key PART NO. PART NAME QTY SERIAL NO. REMARKS
.. RE219922 Field Installation Kit 1 INCL KEYS MARKED (A)

Radio, Antenna And Speaker Kit

key PART NO. PART NAME QTY SERIAL NO. REMARKS
1 RE575067 Radio 1 (A) SUB FOR RE334177 OR RE321101 OR RE265545 OR RE190139 OR AH167570
RE575068 Radio 1 (B) SUB FOR RE334178 OR RE321106 OR RE289629 OR RE190140 OR RE227953 OR RE190141 OR AH162037 OR AH15932 3
2 R113042 Bracket 1
3 14M7297 Nut 1 M5
4 21M7395 Screw 1 M4 X 8
5 37M7218 Screw 16
6 RE254829 Speaker 4 SUB FOR RE61545 AND RE61546; Front and Rear
7 RE321102 Kit 1 (A) ORDER RE334177 AND RE165739; SUB FOR RE196193 OR RE289848; FI
RE321109 Kit 1 (B) SUB FOR RE289852 OR RE234151; FI
8 R64822 Nut 16
key PART NO. PART NAME QTY SERIAL NO. REMARKS
9 AR104516 Antenna 1 ORDER RE247791
10 12H310 Lock Washer 1 3/8" USE WITH AR104516
11 RE61651 Spring 1 ORDER RE247791
12 12H302 Lock Washer 1 1/4" USE WITH RE247791
13 RE165739 Radio Speaker WRG Harness 1
14 RE321103 Kit 1 (A) SUB FOR RE289850 OR RE 196195; ORDER COMPONENTS ;FI
RE321111 Kit 1 X X X (B) ORDER RE165739, RE334178, RE273124, RE 254829, R113042, 14M7297, 21M7395, 37M7218; SUB FOR RE196214 OR RE234153 OR RE289856; FI
15 RE273124 Antenna Kit 1 ORDER RE247791 AND R271742; SUB FOR RE48978
RE247791 Antenna 1
R271742 Adapter 1 (C)
key PART NO. PART NAME QTY SERIAL NO. REMARKS
16 T143167 O-Ring 1

Radio Antenna(Радиоантенны)

key PART NO. PART NAME QTY SERIAL NO. REMARKS
1 RE247791 Antenna 1 (SUB FOR AR104516)
2 12H310 Lock Washer 1 3/8" (USE WITH AR104516)
R34812 O-Ring 1
3 RE61651 Spring 1 (ORDER RE247791)
4 12H302 Lock Washer 1 1/4"
5 RE252092 Base 1
R131991 Cap 1 (B)
6 24M7100 Washer 11 6.600 X 22 X 2 mm
7 14H786 Nut 1 1/4"
8 12H292 Lock Washer 1 1/2"
key PART NO. PART NAME QTY SERIAL NO. REMARKS
9 R76695 Nut 1
10 RE281646 Antenna Cable 1 (SUB FOR RE229756 OR RE252835)
11 19M7394 Cap Screw 2 M16 X 25
12 24M7315 Washer 2 17 X 50 X 3 mm
13 R152120 Seal 2
14 R152119 Spacer 2
15 R127767 Isolator 2
16 RE252821 Spacer 1
17 RE252087 Base 1 (C)
18 R324289 Plane 1 (A) SUB FOR R249205; (-)
key PART NO. PART NAME QTY SERIAL NO. REMARKS
19 R117569 Screw 12
20 R126033 Hook 1
21 12H356 Lock Washer 1 1/4"

Roof Wiring Harness(Жгут Проводов Крыши)

key PART NO. PART NAME QTY SERIAL NO. REMARKS
1 RE227767 Roof Wiring Harness 1
2 R104927 Electrical Connector Assy 1 Right Rear Speaker
3 R104927 Electrical Connector Assy 1 Right Front Speaker
4 R104927 Electrical Connector Assy 1 Left Front Speaker
5 R104927 Electrical Connector Assy 1 Left Rear Speaker
6 57M8839 Elec. Connector Housing 1 Left Side Roof Flood
57M8129 Elec.Connect Locking Device 1
7 57M8924 Elec. Connector Housing 1 Outside Temperature
57M8633 Elec.Connect Locking Device 1
8 57M7256 Elec. Connector Housing 1 Left Rear Roof Warning
key PART NO. PART NAME QTY SERIAL NO. REMARKS
57M7289 Elec.Connect Locking Device 1
9 57M8839 Elec. Connector Housing 1 Left Rear Roof Floods
57M8129 Elec.Connect Locking Device 1
10 57M8416 Elec. Connector Housing 1 Rear Wiper Motor
57M7469 Elec.Connect Locking Device 1
11 57M8839 Elec. Connector Housing 1 Right Rear Roof Floods
57M8129 Elec.Connect Locking Device 1
12 57M7256 Elec. Connector Housing 1 Right Rear Roof Warning
57M7289 Elec.Connect Locking Device 1
13 R227013 Grommet 1
key PART NO. PART NAME QTY SERIAL NO. REMARKS
14 57M8839 Elec. Connector Housing 1 Right Side Roof Floods
57M8129 Elec.Connect Locking Device 1
15 57M8070 Elec. Connector Housing 1 Cab Interconnect
57M8943 Elec.Connect Locking Device 1
16 57M7264 Elec. Connector Housing 1 Cab Interconnect
57M7283 Elec.Connect Locking Device 1
17 57M7256 Elec. Connector Housing 1 Right Flood Roof Warning
57M7289 Elec.Connect Locking Device 1
18 57M8416 Elec. Connector Housing 1 Front Wiper Motor
57M7469 Elec.Connect Locking Device 1
key PART NO. PART NAME QTY SERIAL NO. REMARKS
19 57M9228 Elec. Connector Housing 1 GPS Receiver
57M7682 Elec.Connect Locking Device 1
20 57M7260 Elec. Connector Housing 1 Implement CAN Terminating Device
57M7291 Elec.Connect Locking Device 1
21 57M7256 Elec. Connector Housing 1 Left Front Roof Warning
57M7289 Elec.Connect Locking Device 1
22 57M9229 Clip 11
23 57M7256 Elec. Connector Housing 1 Left Entry Light
57M7289 Elec.Connect Locking Device 1

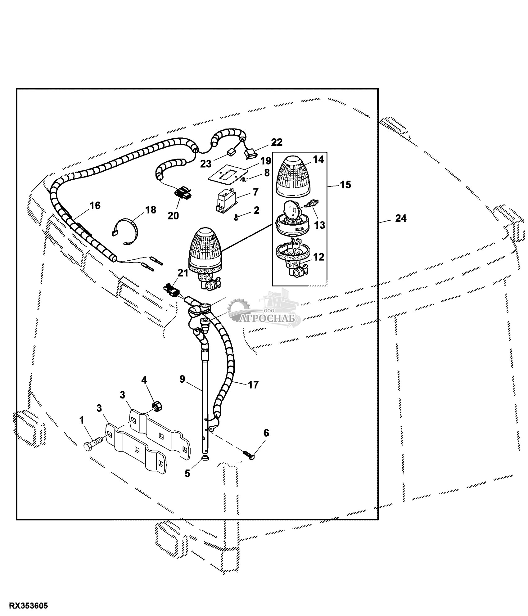
ROTARY BEACON LIGHT KIT(ПРОБЛЕСКОВЫЙ МАЯЧОК СВЕТ КОМПЛЕКТ)

key PART NO. PART NAME QTY SERIAL NO. REMARKS
1 03M7382 Bolt 3 M10 X 30
2 37M7185 Screw 2
3 R234331 Clamp 2
4 14M7546 Lock Nut 3 M10
5 99M7032 Plug 1
6 37M7063 Screw 1 M4.2 X 9.5 MM
7 AT140957 Switch 1
8 R52130 Lock Nut 2
9 AL81691 Retainer 1
10 AZ34621 Socket Outlet 1
key PART NO. PART NAME QTY SERIAL NO. REMARKS
11 Z51982 Plug 1
12 AZ46924 Bezel 1
13 57M7019 Bulb 1
14 AZ46922 Aperture 1
15 AZ101891 Revolving Light 1 (SUB FOR AZ44705)
16 RE191835 Cab Wiring Harness 1
R78053 Electrical Connector Assy 1
R41440 Grommet 1 (A)
17 RE191836 Cab Wiring Harness 1
18 R44302 Tie Band 2
key PART NO. PART NAME QTY SERIAL NO. REMARKS
19 R234527 Plate 1
20 57M7254 Elec. Connector Housing 1 CAB CONNECTOR
57M7289 Elec.Connect Locking Device 1
21 RE12363 Elec. Connector Terminal 1 BEACON INTERCONNECT
22 F432024 Housing 1 BEACON LIGHT SWITCH
23 F432023 Socket 1 BEACON IND LIGHT
24 RE239930 Field Installation Kit 1

Dome Light And Switch(Плафон И Выключатель)

key PART NO. PART NAME QTY SERIAL NO. REMARKS
1 RE48838 Toggle/Rocker Switch 1
2 RE44590 Lamp 1
3 57M7256 Connector 1 (ALSO ORDER (2) R104919, (2) 57M7258 AND 57M7316)
4 37M7063 Screw 2
5 RE47095 Bulb 1
RE300320 Bulb 1 LED Light

CONSOLE LIGHT(ОСВЕЩЕНИЕ КОНСОЛИ)

key PART NO. PART NAME QTY SERIAL NO. REMARKS
1 37H203 Screw 2
2 RE57892 Lamp 1
3 R52130 Lock Nut 2
4 AR48015 Bulb 1
5 57M7458 Elec. Connector Housing 1
6 ...... Cab Wiring Harness 1

ROTATING BEACON SWITCH KIT(ПРОБЛЕСКОВОГО МАЯЧКА ПЕРЕКЛЮЧАТЕЛЬ КОМПЛЕКТ)

key PART NO. PART NAME QTY SERIAL NO. REMARKS
1 R41440 Grommet 2
2 RE51267 Wiring Harness 1
3 R234527 Plate 1
4 R52130 Lock Nut 2
5 AT140957 Switch 1
6 37M7185 Screw 2
7 RE235448 Field Installation Kit 1

WIRING HARNESS (LICENSE PLATE LAMP) (EUROPEAN VERSION)(ЖГУТ ПРОВОДОВ ОСВЕЩЕНИЯ НОМЕРНОГО ЗНАКА В ЕВРОПЕЙСКОЙ ВЕРСИИ)

key PART NO. PART NAME QTY SERIAL NO. REMARKS
1 RE52633 Wiring Harness 1
2 AL33161 Lamp 1
3 R77478 Electrical Connector Assy 1
4 57M8996 Elec. Connector Terminal 2

Foot Throttle(Нога Дросселя)

key PART NO. PART NAME QTY SERIAL NO. REMARKS
1 RE163228 Accelerator 1 SUB FOR RE223399
2 37M7090 Screw 3 M6 X 16
3 RE228541 Wiring Harness 1 NA
4 RE343982 Field Installation Kit 1 (A) SUB FOR RE232550
5 RE243770 Sensor 1 SUB FOR RE220069; USE WITH RE223399
6 57M8906 Elec. Connector Housing 1
57M7741 Elec. Connector Terminal 1
7 R78054 Electrical Connector Assy 1

LOAD CENTER(ЦЕНТР НАГРУЗКИ )

key PART NO. PART NAME QTY SERIAL NO. REMARKS
1 R208235 Bracket 1
2 RE191390 Support 3
3 R212178 Isolator 1
4 57M8750 Receptacle 1
57M8757 Elec.Connect Locking Device 1
5 57M8756 Elec. Connector Accessory 2
6 57M9240 Relay 4 (SUB FOR RE240999)
7 57M7689 Fuse 8 10 AMP
57M7691 Fuse 7 20 AMP
57M8163 Fuse 8 30 AMP
key PART NO. PART NAME QTY SERIAL NO. REMARKS
57M8800 Fuse 1 50 AMP
57M8801 Fuse 1 60 AMP
57M8799 Fuse 1 40 AMP
57M7690 Fuse 1 15 AMP
8 19M8649 Screw 1 M6 X 20
9 57M8752 Elec. Connector Accessory 2
57M8753 Elec.Connect Locking Device 2
10 57M8754 Elec. Connector Accessory 2
57M8755 Elec.Connect Locking Device 2
11 811828300 Relay 2
key PART NO. PART NAME QTY SERIAL NO. REMARKS
12 AT308380 Relay 1
.. RE194287 Special Service Tool 1

Battery Charger, USB Cell phone and Tablet Charger

key PART NO. PART NAME QTY SERIAL NO. REMARKS
1 RE566705 Battery Charger 1